新闻动态

  • 微差压变送器防风罩

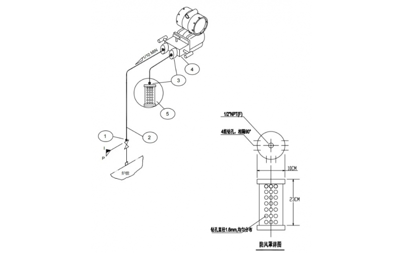
    为减少外界气流和环境波动对微差压变送器测量精度的影响,可以在微差压变送器负压侧取压口处安装一段向下的引压管并安装防风罩,以下是防风罩在微差压变送器上的安装示意图:

    2025-08-06 爱游戏体育在线注册,爱游戏体育(中国)

  • WAX-C320系列变送器基础知识分享

    WAX-C320系列变送器基础知识分享

    2023-06-13 爱游戏体育在线注册,爱游戏体育(中国)

  • 德尔塔巴流量计流量指示不准,无指示的故障处理

    德尔塔巴流量计流量指示不准,无指示的故障处理

    2022-04-01 爱游戏体育在线注册,爱游戏体育(中国)

上一页1下一页 转至第
首页
产品
新闻
联系