行业知识

热电偶补偿原理知识分享

2023-02-06 10:05:08 爱游戏体育在线注册,爱游戏体育(中国)

热电偶补偿原理知识分享


一、应用范围

所有使用热电偶的场所系统,如炼铁高炉系统,布袋系统,热风炉系统等。


二、所要解决的问题

熟练掌握热电偶工作原理,冷端补偿原理,和冷端补偿的方式方法,以及热电偶常见故障现象和解决方法。

图片关键词


三、知识内容


一、参比端处理

我们经常使用的热电偶分度表,都是以热电偶参比端为0℃条件下制作的。在工业测温现场一般不能使参比端保持0℃。现在由于计算机尤其是微处理器和单片机推广普及,因而,智能化测温仪普遍按下述以软件为主的补偿方式:


当热电偶的测量端和参比端温度分别为t、,假定℃,则热电动势

图片关键词


[例6.1]:用K型热电偶测炉温时,测得参比端温度t1=38℃;测得测量端和参比端间的热电动势E(t, 38-1 )=29.90 mV,试求实际炉温。


[解]由K型分度表查得E(38,0)=1.53 mV,由式(6-11)可得到:

    E(t,0)=E(t,  t1 ) + E(t1, 0 )

    =29.90 +1.53= 31.43 mV


再查K型分度表,由31.43 mV查得到实际炉温755℃ 。


上述例子,若参比端不作修正,则按所测测量端和参比端间的热电动势E(t, 32 )=29.90 mV查K型分度表得对应的炉温718℃,与实际炉温755℃相差37℃,由此产生的相对误差约为5%。由此可见,如果不考虑参比端温度修正、补偿有时将产生相当大的(温度)测量误差。


1、补偿导线

补偿导线的作用是把热电偶的冷端离热源较远及环境温度较稳定的地方;也就是用来延伸热电极即移动热电偶的冷端,与显 示仪表联接构成测温系统。


2、补偿导线的优点:

改善热电偶测温线路的机械与物理性能,降低测量线路的成本,节省贵金属材料,便于安装与敷设;若用直径粗、电导系数大的补偿导线,还可减少测量回路电阻。


3、补偿导线使用须注意事项如下:

各种补偿导线只能与相应型号的热电偶匹配使用;补偿导线与热电偶连接点的温度,不得超过规定的使用温度范围;由于补偿导线与电极材料通常并不完全相同,因此两连接点温度必须相同;在需高精度测温场合,处理测量结果时应加上补偿导线的修正值,以保证测量精度。


二、冷端处理及补偿


1、冰点槽法

把热电偶的参比端置于冰水混合物容器里,使T0=0℃。这种办法仅限于科学实验中使用。为了避免冰水导电引起两个连接点短路,必须把连接点分别置于两个玻璃试管里,浸入同一冰点槽,使相互绝缘。

图片关键词

2、计算修正法

用普通室温计算出参比端实际温度TH,利用公式计算


例 用铜-康铜热电偶测某一温度T,参比端在室温环境TH中,测得热电动势EAB(T,TH)=1.999mV,又用室温计测出TH=21℃,查此种热电偶的分度表可知,EAB(21,0)=0.832mV,故得


EAB(T,0)=EAB(T,21)+EAB(21,T0)

=1.999+0.832

=2.831(mV)


再次查分度表,与2.831mV对应的热端温度T=68℃。


EAB(T,T0)=EAB(T,TH)+EAB(TH,T0)


注意:既不能只按1.999mV查表,认为T=49℃,也不能把49℃加上21℃,认为T=70℃。


3、补正系数法

把参比端实际温度TH乘上系数k,加到由EAB(T,TH)查分度表所得的温度上,成为被测温度T。用公式表达即


式中:T——为未知的被测温度;T′——为参比端在室温下热电偶电势与分度表上对应的某个温度;TH——室温;

k——为补正系数,其它参数见下表。


例  用铂铑10-铂热电偶测温,已知冷端温度TH=35℃,这时热电动势为11.348mV.查S型热电偶的分度表,得出与此相应的温度T′=1150℃。再从下表中查出,对应于1150℃的补正系数k=0.53。于是,被测温度

T=1150+0.53×35=1168.3(℃)


用这种办法稍稍简单一些,比计算修正法误差可能大一点,但误差不大于0.14%。

T= T′+ k T H


4、零点迁移法

应用领域:如果冷端不是0℃,但十分稳定(如恒温车间或有空调的场所)。


实质:在测量结果中人为地加一个恒定值,因为冷端温度稳定不变,电动势EAB(TH,0)是常数,利用指示仪表上调整零点的办法,加大某个适当的值而实现补偿。


例  用动圈仪表配合热电偶测温时,如果把仪表的机械零点调到室温TH的刻度上,在热电动势为零时,指针指示的温度值并不是0℃而是TH。而热电偶的冷端温度已是TH,则只有当热端温度T=TH时,才能使EAB(T,TH)=0,这样,指示值就和热端的实际温度一致了。这种办法非常简便,而且一劳永逸,只要冷端温度总保持在TH不变,指示值就永远正确。


5、冷端补偿器法

利用不平衡电桥产生热电势补偿热电偶因冷端温度变化而引起热电势的变化值。不平衡电桥由R1、R2、R3(锰铜丝绕制)、RCu(铜丝绕制)四个桥臂和桥路电源组成。设计时,在0℃下使电桥平衡(R1=R2=R3=RCu),此时Uab=0 ,电桥对仪表读数无影响。

T0    Ua  Uab    EAB(T,T0)


供电4V直流,在0~40℃或-20~20℃的范围起补偿作用。

注意,不同材质的热电偶所配的冷端补偿器,其中的限流电阻R不一样,互换时必须重新调整。

注意:桥臂RCu必须和热电偶的冷端靠近,使处于同一温度之下。

图片关键词


7、软件处理法

对于计算机系统,不必全靠硬件进行热电偶冷端处理。例如冷端温度恒定但不为0℃的情况,只需在采样后加一个与冷端温度对应的常数即可。


对于T0经常波动的情况,可利用热敏电阻或其它传感器把T0信号输入计算机,按照运算公式设计一些程序,便能自动修正。后一种情况必须考虑输入的采样通道中除了热电动势之外还应该有冷端温度信号,如果多个热电偶的冷端温度不相同,还要分别采样,若占用的通道数太多,宜利用补偿导线把所有的冷端接到同一温度处,只用一个冷端温度传感器和一个修正T0的输入通道就可以了。冷端集中,对于提高多点巡检的速度也很有利。


三、热电偶的定期校验

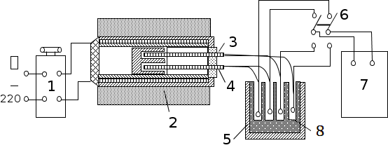
校验的方法是用标准热电偶与被校验热电偶装在同一校验炉中进行对比,误差超过规定允许值为不合格。图为热电偶校验装置示意图,最佳校验方法可由查阅有关标准获得。工业热电偶的允许偏差,见下表。


四、工业热电偶允许偏差

图片关键词

图片关键词


热电偶校验图

1-调压变压器;2-管式电炉;3标准热电偶;4-被校热电偶;5-冰瓶;6-切换开关;7-测试仪表;8-试管


五、热电偶常见故障处理

图片关键词










首页
产品
新闻
联系